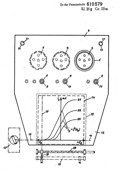
Funke Tube tester 1935 patent

 

This is an interesting patent. You need to be able to read in in Germam though. They usee plate curves as a test card, and a needle moving over it. This reads really interesting, and as far as I know, there was never a tester build like this.

here is the full text